甲类放大器越来越受到人们的重视。究其原因一是甲类放大器不存在交越失真现象,不会产生刺耳的奇次谐波,这是音质清纯之关键所在。其二是甲类放大器一直工作在最佳状态下,不会产生乙类放大那样的开关失真。它的特点是可以取消大环路负反馈,从而避免了瞬态互调畸变,使动态指标大大提高。
本机专为书房设计,不求金玉其外,只求卓越其声。采用电子管单管甲类放大电路,既出于对音质的考虑,也考虑到业余制作推挽放大器时难以解决的管子配对问题。虽然电子管纯甲类放大器效率较低,但它的功率储备与晶体管功放相比,可小至一半以下。有研究资料表明纯甲类与乙类功率欲获得相同音质(指纯甲类放大器功率不超出额定值),后者须具有9倍于前者的功率储备。所以,纯甲类放大器的绝对效率可能要差一些,但相对效率却相差不大。
电子管音质温文尔雅,一派儒家风范,正有所谓中庸之道,加上电子管本身所特有的古典情调及怀旧气息,足以给书房带来无限温馨氛围。如果那些铭胆诸如KT88、KT100、845等,可称为鸿儒的话,那么本机可称为小儒,如果在您的书房里请入这样一位小儒,您就等于觅到一位知音,忧郁时他会细声款语来宽慰你,快乐时有他谈笑风生来助兴,何乐而不为?
本机有如下特点:
不失真输出功率2~5W;
电路简单,无需特殊元件,并给出了部分元件代用经验;
本机频响宽、失真低,电路中设有高低音调控制电路,使用方便。
电路工作原理
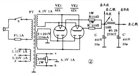
整机电路图见图1。每个声道只需2只管子。放大作用以音调网络为界分为前后二部分。前一部分为电压放大部分,后一部分为末前级与功放级。VE1、VE2选用高μ管6N2,以提高整机灵敏度。电压放大级的主要技术指标是放大倍数和频率失真程度。6N2放大系数为97.5,足以满足本机要求。采用阻容耦合,中频区域的放大倍数最大,幅频特性和相频特性都很平坦。而低频区域和高频区域都以一定的规律下降。通常要提高上限频率就要减小R4值,要延伸下限频率就得增大C1值。经反复调试,本机电压放大级屏极负载电阻取值150k,C1用0.1μF。末前级是典型的具有阴极电阻的自生偏压兼越级负反馈的电压放大器。

功放级选用低频功率放大五极管6P14,该管在音响界中有“淑质英才”的美名,其阴极面积大,寿命长,尤其是跨导高达土1.3mA/V,灵敏度与功放效率均较高,是一种性能优良的功放管,实际装机试听也证实了这一点。VE3的栅级电阻R11对音质有一定影响,为获取较好的频响,本机取值较小为400kΩ。五极管的主要优点是放大系数较大,用作放大器时,可得到较高的放大倍数。同时因有帘栅极和抑制栅极的双重屏蔽作用,它的跨路电容很小,如6P14就小于0.2pF,高频损耗小。当然,同三极管相比较,五极管用作放大器时,失真和噪声都要大一些。不过,本机装制后听来音色纯净自然,通透明快,噪声根本听不出,这与甲类工作状态有关。
电源部分采用5Z2P进行整流,然后经过π型LC滤波电路对机供电。其中灯丝绕组、电压放大级与功放级宜独立绕制,以期减少相互干扰。
具体制作经验
1.元器件选用。
电子管VE1、VE2选用“J”级品6N2,可用6N1直接代换。VE3选用北京牌6P14,与之相同的管子型号为6BQ5。本机对电阻、电容品质无特殊要求,电阻用普通碳膜电阻即可。笔者所用的电阻皆为旧电子管收音机的拆用品。只是为电路工作稳定起见,电阻的功率宜选取大些,笔者用的都是1瓦功率的规格。电容C1、C4、C5、C6、C7可用普通聚丙烯电容器,耐压在400以上即可。C2、C8为普通高压电解,耐压大于350V即可。C9、C10耐压应大于400V,有条件者应优先考虑用彩电电解。C3选用200pF云母电容。
电源变压器功率应大于100W,初、次级间应加有屏蔽层,各组灯丝独立绕制,绕制数据见图1。电源变压器铁芯型号采用“GEIB-35”,截面积大于35×47mm2。5Z2P供电电压为5V,用Φ1.21mm漆包线绕24匝,电流应≥3A。功放管6P14的灯丝供电电压为6.3V,用Φ1.21mm漆包线绕30匝,在中心处抽头,即抽头e,接至6P14阴极,可提高信噪比。扼流图L可用CEIB-22硅钢片,叠厚22mm,用Φ0.28mm漆包线绕2700匝。为使扼流圈不产生直流饱和,在铁芯上应有空隙以增加磁阻。为此,铁芯可采用对叠方式叠合,留下约0.5mm的空隙,空隙处塞上绝缘纸,绕圈能通过150mA电流即可。
输出变压器品质高低对音质大有影响,可购买成品音频输出变压器,功率为5W,初级阻抗为5~5.2kΩ,次级输出阻抗为4~16Ω,型号为“OPT-5-5”。
电位器RP1应选用470kΩ双联指数型音响专用电位器。RP2、RP3可用普通功率在2W以上的电位器。RP4用2W左右的100Ω线绕电位器。
2.安装与调试。
读者可根据自身条件选择安装方式。笔者用的是电子管收音机底座,利用其原有的电子管座,变压器及接线柱,安装甚为便利。如为整洁起见,读者也可采用印刷电路板,将电源变压器售输出变压器、扼流圈,电子管及大电解电容安装于金属板材底座上部,将印刷电路板安装于底座内部,这样可以防止阻容元件因受高温而导致参考变化。为防止干扰信号进入,应采取必要的措施。电源变压器可直立安装,用支架支起,使其高出底座一段距离,可以防止变压器漏磁通过底板进入电路而引起交流声。电源变压器线包与扼流圈线包相互垂直,并应尽可能远离输出变压器。VE1、VE2应远离电源变压器.电解电容应远离功放管,为了避免被烤得过热而干涸失效。
各种零件的接线应尽量短,走线不能乱,同一级元件应靠近该级电子管,并保证一点接地。电子管栅极引线应尽量短,并避免与屏极引线平行。屏极电路和栅级电路接线稍和底板离开一点,这样可以减少一些潜在分布电容量。灯丝引线最好绞合起来靠底板走,以减少因灯丝引起的交流声。旁路电容器必须直接由管座或旁路点连到本级接地点。电容器的接线头不能太长,因为被旁路的电流海交流电,容易和其他线路感应,而且长导线本身有电感,对高频电流形成感抗,这样就降低了旁路的作用。要特殊注意VE1栅极引线要采用金属屏蔽线,并且在靠近栅极一点将屏蔽层接地。只要能注意以上事项,仔细焊接,装制无误后,即可通电煲机试听,无需做调整工作。
部分元件代用经验
其中电压放大管可用6N1代替,代替后R4降至100kΩ,R8降为100kΩ,R10降至50kΩ左右。用6N15代替时改动法如上。电源整流电子二极管可用6Z4代换。因单只6Z4管最大直流输出电流只有75mA,故应用两只管于并联后使用,电路改动如图2。
也可用半导体二极管代换。只是音质略有变化,改动电路见图3。

扬声器低频单元可用YDS-2004型8英寸橡皮边喇叭,高频单元用YDG-3型2.5英寸小高音喇叭,通过简单的电容分频,分频点选在3kHz,电容可用音响专用无极性电容,如CD94型,CD95型,也可用品质好的两只电解电容(20μF与10μF)反相串联代用,只是效果略差一些。
只要元件无误差,焊接正确,开机煲半小时即可试听,如果电路工作很稳定,试将反馈电阻R13取消,此时音质更为透亮。
笔者用摩过的飞利浦CD47l型CD机作音源,直驳此机,推动前面介绍的两款扬声器制成的密闭式书架式音箱,于书房聆听,令人回味绵长。试听碟先用1990年德国格拉玛风公司出版的《彼得与狼》,编号为“DG429 396-2”,由阿巴多指挥欧洲室内乐团演奏,史订旁白.一开场就将人深深吸引入剧情之中。小型音箱所独具的清晰的声扬感使人身临其境,闭上眼睛便觉得自己也在参予彼得与狼的周旋。史订的旁白那样真切自然,紧扣剧情。彼得遇险时紧张的气氛凝重得让人喘不过气采,老狼被斗败时热烈明快的节奏令人欢欣鼓舞,让人领略音乐这种艺术的无穷魅力。又用珍妮芙·华纳的《蓝雨楼》试听,本机对人声的绝佳演绎令珍妮芙·华纳的富有磁性的迷人歌喉体现得极其完美,萨克斯手保罗·奥斯托玛尔的萨克管舞弄得令你如痴如醉。让人赞叹天碟音色之至纯之至,同时也令人暗叹电予管之青山不老。
笔者也曾用自制的DM62磁头卡座加前置直驳该机,试听民乐演奏带。其间一曲古筝曲{高山流水》意境空远,超凡脱俗,不由得令人文思泉涌。
(责任编辑:admin) |