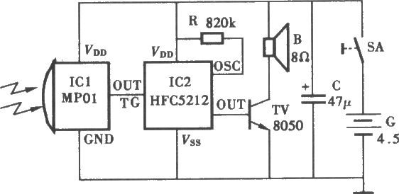
diy热释电红外线探头报警器电路 时间:2012-12-31 16:06 来源:网络 作者:网络整理 点击:次 热释电红外探头报警器电路 (责任编辑:admin) 上一篇:制作红外线探测报警器 下一篇:diy构思奇特的摩托车手机报警器