|
最近发现之前买的那个破表越来越不准了,什么都没接,电压档数字都在乱跳,实在是受不了。 ![]() 上帝说要有光,于是便有了光。小七说要买个万用表,于是便买了个万用表,选来选取,还是花了190+买了优利德 UT61E。当然,小七那么穷,可是舍不得掏钱,好在身上有2个创新项目,就报到项目里面去了 ![]() 拆机图坛里有很多,改背光,改自动关机坛里也有很多相关帖子,这里就不重复发了。不过既然是小七发的帖,那自然是与他们 不一样! ![]() 首先是改的【串口通信】与【自动关机】功能切换,网上有很多帖子讲,这里就不复述了。
然后是改背光,有些人说改背光不必要,有谁会黑灯瞎火的修东西,谁会黑灯瞎火的在那里拿个表乱捅,万一捅到220V怎么办?? 其实对我来说,改背光还是有必要的,不是说在黑乎乎的环境下用万用表,而是小七的桌子位置有限,万用表有时候放在角落里面,而那里是光线比较弱的地方,这时候背光就很有用了 ![]() 从MP4的烂屏幕上拆下来的LED灯条
剪出两个LED,然后用漆包线把它们串联起来,漆包线用的是12寸电脑风扇上的线圈,不粗不细,非常好用。
LED贴在UT61E的背光板上,不知道厂家既然装了背光板,为什么不做一个背光功能呢?是不是背光的驱动电路对仪表有影响?
把LED线引出来,2个LED串联,驱动电压怎么也得6+V,这样的话从9V电池取电比较好。
到这里就不一样啦~网上的UT61E改背光大多数是用芯片自身的背光输出引脚,驱动能力不强,光线暗淡,而且还有时间限制,比如开启90秒后自动关闭 balabala~~~ 小七的方法是,利用HOLD键(可以改成任意一个按键)来控制背光,同时不影响HOLD键的使用。要用到单片机呃。。。 背光使用方法,长按【HOLD键】2秒左右,背光开启,再次长按则关闭,刚按下【HOLD】键,万用表会启用【数据锁定】功能,但是长按2秒后,【数据锁定】功能就会被取消,因此开关背光不会影响【数据锁定】功能哟~ 单片机,用的是STC15L104E,之前觉得好玩,买了好多,做些小东西还是很好用的,后面有时间再去找点更小的单片机来玩玩~ P3.4(1脚)控制 N沟道 MOS管,小七用的是 SI 2302,MOS管 控制LED的导通,LED接有150Ω的电阻限流。
电路接法如下,对了对了,画原理图时疏忽了,在N MOS 管的 G极(1脚,也就是左下角)那里要接个10K的电阻到地(GND),不然万用表关闭了,单片机掉电,N MOS失去单片机的控制,可能会意外导通,所以栅极要用个10K电阻接到地,防止意外导通。
单片机从万用表的3V LDO那里取电,3V在那里呢?看到这些贴片电解电容了么?它们就是3V LDO 的输出电容 ,找了一个顺眼的取电。 ![]()
【HOLD】 键在那里??在这里:
单片机的P3.5(3脚)是信号输入端,接到万用表主芯片的 HOLD 引脚上(从右往左数第7个引脚)。为了不影响原来的电路,P3.5已经设置为【高阻态】。
如果想要改低电压的检测阀值,可以改这里~
改装好后刷入程序
所有的改装、接线都是在有焊点的焊盘上连接的,就连LED的取电都接在了电池弹片的隐蔽处,即使某天万用表坏了,把所有的线都拆下来,也不会留下任何改装过,焊接过的痕迹哟~
再贴一个不会留下残胶的高温胶布固定住
下午,不开背光的情况,不插数据线,万用表启动【自动关机】功能
下午,长按【HOLD】键,开启背光的效果。
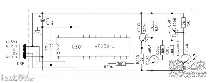
下面是DIY万用表USB数据线了,厂家配的是串口数据线,但是笔记本没有串口呀,所以要DIY一个小电路接到USB转串口模块上,这样就方便笔记本使用了。仔细研究了一下厂家的USB电路图,感觉就是一个信号放大电路,有光时输出0,没有光时输出1 厂家的USB模块电路
照着【有光时输出0,没有光时输出1】用三极管描了一个,图中R4,R6可以短接,10K什么的要求不是很严格,接收二极管那里(光电二极管),如果发现不能用,那可能是接反了,把它反过来应该就能用了。
PCB预览图
去玩智能小车的同学那里拿了一个红外对管,然后腐蚀了PCB,焊接~
焊接完毕
测量一个锂电池的电压,晚上。
看吧,有背光是不是更方便,读数更清晰?
连接电脑上位机,正常~对了,电路的信号输出(TXD)接到 USB转串口模块(比如PL2303、CP2102等模块)的RXD引脚上,连接时依旧用 COM 口来连接,不是USB哈~
附原理图,源程序,以及编译好的程序,热转印的PDF打印文件(方便没有装AD软件的同学) (责任编辑:admin) |












































