[单片机] 制作飘在空中的文字 日期:2013-01-13 18:22:54 点击:178 好评:0
免费提供各种电子制作文章、资料、图纸...
[单片机] 制作89S51系列单片机自带看门狗的用法程序示例 日期:2013-01-13 18:22:48 点击:93 好评:0
免费提供各种电子制作文章、资料、图纸...
[单片机] 自制基于L297/L298芯片步进电机的单片机控制 日期:2013-01-13 18:22:29 点击:155 好评:0
免费提供各种电子制作文章、资料、图纸...
[单片机] 自制基于单片机的步进电机开环控制系统 日期:2013-01-13 18:22:01 点击:132 好评:0
免费提供各种电子制作文章、资料、图纸...
[单片机] diyat89c51电子时钟电路图和程序 日期:2013-01-13 18:21:53 点击:182 好评:0
免费提供各种电子制作文章、资料、图纸...
[单片机] 使用51单片机diy制作玩具电子琴 日期:2012-12-29 19:10:57 点击:457 好评:-2
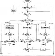
这是一款用51单片机控制的玩具电子琴,用到了51的定时器和键盘技术,它的汇编程序流程如下,很适合初学者学习制作。 说明:由单片机的P1.0口输出音频信号,在P1.0口接三极管以驱动喇叭,最好用两个三极管构成达林顿结构。P2口连接8个一端接地的按键作为输入,...
[单片机] 用单片机diy制作多功能电子琴附线路图和程序和视频 日期:2012-12-29 19:04:24 点击:736 好评:2
最近学院要举办科技节,本没有交作品,但是系科技部突然给我下了任务,于是不得不赶两个作品起来,实在不想做就把以前的两个小玩意重新整了一下。本作品是《 基于51单片机的玩具电子琴 》一文中作品的升级版。 视频演示: 以下是科技节作品说明文档,原封不动...
1.教程说明 心率计可以将检测到的心率数据传输至手机端和WEB端,从而实现心率的实时监...
最近有点忙,可还是腾出空来打造了一款单片机32位LED花样流水灯!......................
最近这段时间比较闲,特地将原先做的LED时钟升级一下!先上照 正面 反面 本次做的LED...
最近帮别人设计了一下毕业设计,就是温度检测、报警系统,具体的题目就不贴出来了。公...
电路设计: 图1是单片机最小系统电路;图2是驱动电路。共10路光源DS1~DS10,分别由AT8...
免费提供各种电子制作文章、资料、图纸...