|
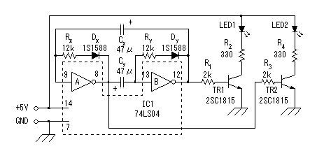
电路使用常见的非门集成电路74LS04进行搭建,如果找不到,可以使用类似的IC,比如74HC04等型号。使用其中的两个门构成多谐振荡器,通过三极管C1815进行驱动发光二极管发亮。调整R3,R4可调整发光二极管的亮度。 dedecms.com 电路震荡频率与CX,CY,RX,RY以及二极管1S1588有关,按照图上的参数,震荡频率大概在0.93赫兹.
注意,由于该集成电路对静电敏感,因此焊接时须使用防静电的烙铁,否则需要进行断电焊接,同时将未使用的非门输入端接地处理.上电路中未画出. (责任编辑:admin) |



















