最好的电子音响科技diy制作网站

haoDIY_音响电子电脑科技DIY小制作发明

当前位置: 主页 > 音响DIY > 胆机DIY > 后级DIY >

长盛不衰的威廉逊放大器

时间:2012-08-28 16:45来源:未知 作者:admin 点击:
1947年4月,英国《无线电世界》杂志发表了D.T.N威廉逊的文章《高质量放大器设计》。文中详细地介绍了一款带有大环负反馈的优秀功率放大器。这就是令世人瞩目的威廉逊功放。尽管它的失真系数在5%以上,但在其它许多技术指标上与昔日放大器相较,都有了令人十分
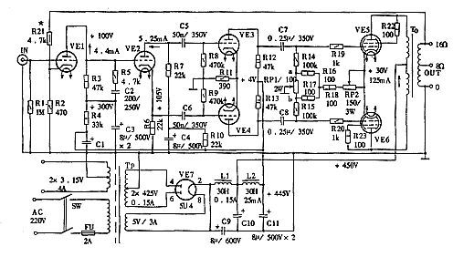
1947年4月,英国《无线电世界》杂志发表了D.T.N威廉逊的文章《高质量放大器设计》。文中详细地介绍了一款带有大环负反馈的优秀功率放大器。这就是令世人瞩目的“威廉逊功放”。尽管它的失真系数在5%以上,但在其它许多技术指标上与昔日放大器相较,都有了令人十分满意的突破。该放大器的基础电路如图1所示,其中VE1为输入放大器(又称前置级),VE2是P-K分割式倒相器,VE3、VE4构成推动级,VE5、VE6是推挽输出放大器(又称后级)。
长盛不衰的威廉逊放大器
图1

  最初的“威廉逊放大器”(下称“威器”)在结构和制作工艺方面是相当考究的。推动级VE3、VE4之前全部使用电压放大类三极管,其型号均为L63。该管的基本特性与美产6J5、苏式胆6C2C以及国产6C2P完全相同,引脚也一样,如图2(a)所示。使用三极管作信号电压处理可以将此类胆的低内阻特性完全展现出来,从而可以改善放大器的整体失真,并阻尼扬声器的谐振峰压。以上是三极管电压放大器的优点。采用三极管做电压放大器的缺点则是它的放大系数(μ)较低,故而应有较大的电压激励才会有足量输出,这给电路设计带来了一定的困难。“威器”的后级为多极电子管KT66,准三极管连接,引脚见图2的(b)。

长盛不衰的威廉逊放大器
图2

  世间很多事物的发展,常常都带有一种偶然性,放大器技术大概也不例外。在“威器”出现之前,也有不少知名的放大器问世,如6J7+6V6+2×2A3、6J7+6J7+2×6L6等,但这些放大器都没能克服失真大、频响窄、功率低等缺点。1947年初,当时在英国著名电子管制造商Marconi-Osram公司工作的工程师威廉逊在一次试验中发现,如果将五极管的帘栅极与屏极连在一起,构成一只“准三极管”,其功率输出比原管增大30%,失真度可下降40%以上。后经整理,关于同年四月公诸于世。这便是上面论述的著名“威廉逊放大器”。“威器”的基本特色有六点:
  (1)整机从前到后全部使用三极管(末级采用价廉的束射四极管作准三极管驳接处理,也是“三极管”,使三极电子管的优势充分地展现了出来。
  (2)为了满足三极管高激励的要求,中间加置了VE3、VE4作功放的推动级。
  (3)从前级到后级,每一级的偏置均采用性能优良的自给偏压;而且各胆阴极的自给偏压电阻上均未并接交流旁路电容,使之形成有效的AC/DC双反馈。这对提高电路的稳压性、展宽频带等颇具牌益。
  (4)由于级数的增加,使“威器”的自激因素大大上升。为了保持电路的稳定性,除上述偏置采用AC/DC负反馈技术之外,末级VE5、VE6的G1、G2极还分别加入了R19、R20、R22、R23等特设稳定电阻;输出变压器TO在防止相移方面的绕制工艺上也颇下了一番功夫;在TO的二次侧加接了一路大环负反馈R21。
  (5)为了展宽频带和抑制相移,输入级VE1和倒相放大器VE2之间采用了直接耦合;同时还引入了频率补偿网络R5、C2。
  (6)为了保证各级预热的“同步性”,“威器”采用了电子管整流电源VE7。电源滤波全部使用高压无极性电容,并且采用了两节LC纹波抑制器,故而放大器的交流声极微。
  具有上述特色的“威器”,其性能指标十分优良,输出功率达到了15W,谐波失真达到了3%以下,频响在开环时为20Hz~20kHz(-3dB),在闭环时为10Hz~100kHz(±1dB)。而且,开、闭环的相位特性也非常理想。
  后来,有不少人也曾试图对“威器”进行改造(打摩),但大都以“弄巧成拙”的结果而告终。这充分说明了“威器”的整体性和技术的先进性。
  随着电子管技术的发展,人们曾大保持原电路程式的同时,对各级用胆作过一些有益的尝试。双三极管出现以后,“威器”的输入级VE1和倒相级VE2,曾有人用大八脚6SN7,也有人选用ECC82或12AU7作输入、倒相级,但此时的工作状态要稍作改变(VE1的Ua≈100V,VE2的Uk≈105V)。推动级VE3、VE4大都和VE1、VE2选用同型管,但也有人使用12BH7,此时其阳极电阻R12、R13应由47kΩ改用33kΩ。后级功放VE5、VE6通常都选用性价比高的束射功率四极管,如KT66、807、6L6、5881、5933等,驳接成“准三极管”并采用变压器耦合推挽电路。众所周知,三极管的主要缺点是存在较大的偶次谐波失真,而变压器耦合推挽电路正好是“灭杀”偶次谐波失真的“能乎”,两者配合使用可扬长避短、相得益彰,使还音效果非常理想。后级还可以选用新型五极胆EL34,效果也不错。
  现介绍用国产电子管制作的威廉逊放大器,供胆机爱好者制作时参考。在制作过程中,电子管全部选择优秀国产胆。此时,可将图1末级VE5、VE6改用国产胆6P14(抑制栅在管内与阴极相连),VE1~VE4用两只双三极管6N1取代,电源整流管VE7改用5Z3P。后级工作点设计在甲乙1类状态,国产胆6P14的主要技术参数见附表。因为6P14的技术参数和原“威器”后级的KT66、807等胆有较大出入,所以相应的电源变压器TP和输出变压器TO也应作适当调整。TP无成品,需自行绕制。铁心选用GEB/GIB-22,舌宽30mm、叠厚38mm,材料特性为D310-0.35/10000,Wr=6.4匝/伏。其原理图见图3,TP用的线材如下:N1长盛不衰的威廉逊放大器为0.3线1408,N2-1为长盛不衰的威廉逊放大器0.27线1600T×2,N2-2为长盛不衰的威廉逊放大器1.38线32T,N2-3为长盛不衰的威廉逊放大器1线20T×2,N2-4为长盛不衰的威廉逊放大器1.45线40T。绕制方法按分层、分段间绕法,具体工艺很多书刊均有介绍,此外不赘述。输出变压器TO可选用U6012或鼎牌CB17W8。如自制,可采用GEB/GIB-22-D310-0.35/10000铁心,取截面积Sc=22×28,用线及线制参数见图4,其中骨架[图4(a)]为多槽结构,初、次级绕组分段排布起来。其它元件也选用优质国产品。电阻为阻燃被覆金属膜电阻。C5~C8选用XINDAK/P系列CBB电容,C2选用云母电容,C9~C11为彩电高压电解电容CD291(100μF/400V),其它电源滤波电解电容C1、C3、C4等为CD293(33μF/400V)电容。电感L1、L2选用“力神”成品。RP1、RP2选用实心微调电位器。

长盛不衰的威廉逊放大器
图3
长盛不衰的威廉逊放大器
图4
附表
序号 参数名称 代号 单位 参数 备  注
1 灯丝电压 Uf V 6.3 5.9~6.9V
2 灯丝电流 If mA 760 710~830mA
3 阳极电压 Ua V 300 屏~阴间电压
4 静态屏流 Iao mA 48 静态工作点
5 满信号屏流 Iam mA 52 Ia=4mA
6 阴极自偏电阻 Rk Ω 270 Eg≈-13V
7 栅/栅激励 Ugg V 20 有效值(RMS)
8 输出功率 PO W 5 额定输出功率
9 屏/屏最佳负载 Raa k 10 TO应与之匹配
10 谐波失真 THD % 3 多数情况小于2.5%

  该机的调试比较简单,VE1~VE4基本上无需调节;后级先调RP2使VE5、VE6的阴极电压约为13V左右,再调RP1使两臂平衡(a、b点对地电压均为2.4V)即可。调机完成后,该机可达到技术指标为:Po≥5W,THD≤2.5%,FR=22Hz~30kHz(±1dB)。如需使用双声道,则按图1用国产元件装配两套同样的电路即可。
  6P14和欧洲胆EL84、美国胆6BQ5及前苏联的6п14п属于同族同类胆,素有“淑质英才”之美誉,用6P14接成三极管作后级,在Ea=300V作甲乙1-类推挽工作时,音色酷似当年的KT66。

(责任编辑:admin)
织梦二维码生成器
顶一下
(1)
100%
踩一下
(0)
0%
------分隔线----------------------------
发表评论
请自觉遵守互联网相关的政策法规,严禁发布色情、暴力、反动的言论。
评价:
表情:
用户名: 验证码:点击我更换图片
栏目列表
推荐内容