|
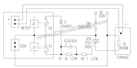
智能数显温度仪表凡是都具有上、下限两个温度报警电接点,操作这两个输出接点,与双向可控硅和触发电路共同,可以组成一台具有三种加热功率的温度节制器,实现温度的三位式节制,节制箱式电炉的温度。其详细电路道理见附图。 图中,S1为下限接点,S2为上限接点。在数显表上通过软件设定,使S1在低于下限温度时接通,高于下限温度时断开,而S2则配置成高于上限温度时断开,低于上限温度时接通。行使时,将所要节制的温度设定在上下限温度之间。好比,当必要的温度为850℃时,下限温度值要比它低几度,可设在846℃,上限温度则可设在854℃。详细事变道理如下: 在开机升温阶段,温度为室温,S1和S2均为接通状态,双向可控硅被双向触发处于全开通状态,电炉全功率快速升温。当温度到达或高出下限温度时,S1断开,双向可控硅由二极管D举办单向触发,可控硅只有一个偏领导通,电炉的加热功率镌汰一半,低落了加热速度,进入保温状态。当温度到达或高出上限温度时,S2断开,双向可控硅因触发电路所有断开而截至,电炉遏制加热。一段时刻之后,电炉温度开始天然降落,当降到上限温度以下时,S2接通,可控硅再次单领导通,电炉又半功率加热,进入保温状态。假如炉温进一步降落至低于下限温度时,S1接通,双向可控硅又全开通,电炉全功率加热。 通过上述节制,使电炉的温度根基保持在上下限温度之间。因为电炉的加热功率有零功率、半功率、全功率三种状态,以是在节制进程中温度的颠簸较小,恒温结果较好。 从附图可以看出,整个电路布局很是简朴,但它却可以或许实现三种加热功率状态。并且,负载上的电流波形完备,不存在移相触发的高次谐波滋扰题目。通过长时刻的现实应用证明,其控温精度较高,能较好地满意一样平常尝试室的行使要求,并且本钱不高,很是得当尝试室中5千伏安以下箱式电炉的温度节制,及小型金属工件热处理赏罚加热的必要。
(责任编辑:admin) |

















