最好的电子音响科技diy制作网站
高级搜索
|
网站地图
|
TAG标签
RSS订阅
[
设为首页
] [
加入收藏
]
主页
最新DIY
音响DIY
电子DIY
科技DIY
电脑DIY
生活DIY
DIY视频
软件下载
DIY材料
搜索
检索标题
智能模糊
搜索
热门标签:
唱放
收音机制作
LM3886
胆机套件
el84胆机
惠威书架箱
6922
6V6胆机
电路图
机器人昆虫
当前位置:
主页
>
电子DIY
>
控制电路
>
温度控制
>
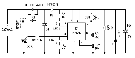
电热毯diy制作自制温控器电路
时间:
2012-12-29 20:54
来源:
网络
作者:
网络整理
点击:
次
免费提供各种电子制作文章、资料、图纸
一样平常电热毯有高温、低温两档。行使时,拨在高温档,入睡后总被热醒;拨在低温档,偶然醒来会认为温度不足。这里先容一种电热毯温控器,它可以把电热毯的温度节制在一个吻合的范畴。
(责任编辑:admin)
织梦二维码生成器
顶一下
(1)
100%
踩一下
(0)
0%
相关文章
红外取暖diy制作自制器温度控制电路
简单人工智diy制作自制能的温度控制电路
电饭煲火diy制作自制力控制器电路
你可能感兴趣的文章
廉价恒温电烙铁
实在是忍无可忍了,改造个电热毯调温
使用温控专用集diy制作自制成电路TC62
电热毯diy制作自制温控器电路
电烤箱恒温器
------分隔线----------------------------
上一篇:
冰箱diy制作自制电子温控器
下一篇:
电热毯自diy制作自制动保护恒温器电路
收藏
挑错
推荐
打印
发表评论
请自觉遵守互联网相关的政策法规,严禁发布色情、暴力、反动的言论。
评价:
中立
好评
差评
表情:
用户名:
验证码:
匿名?
发表评论
最新评论
进入详细评论页>>
栏目列表
开关控制
温度控制
定时控制
遥控电路
传感控制
保护电路
灯光控制
电机控制
推荐内容
使用温控专用集diy制作自制成电
电热毯自diy制作自制动保护恒温
给宝宝们做个恒温的温奶器
电水壶自diy制作自制动断电控制
热点内容
电炉功diy制作自制率调节电路
更新:2012-12-29
电饭煲火diy制作自制力控制器电
更新:2012-12-29
简单人工智diy制作自制能的温度
更新:2012-12-29
使用温控专用集diy制作自制成电
更新:2012-12-29
自制调温插座 调温开关
电热毯diy制作自制温控器电路
给宝宝们做个恒温的温奶器
冰箱diy制作自制电子温控器
电饭煲火diy制作自制力控制器电
DS18B20温度丈量、报警体系的计
使用温控专用集diy制作自制成电
廉价恒温电烙铁
电烤箱恒温器
红外取暖diy制作自制器温度控制