试制一台6n11+6n1电子管前级放大器胆机
时间:2012-08-29 09:15来源:未知 作者:admin 点击:
次
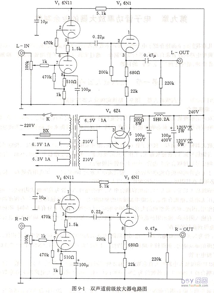
图91是该前级放大器的电路图。 一、电路简介 该双声道前级放大器的输入级采用目前流行的SRPP电路,其线路简洁,解析力高,特别是高频响应极佳,动态与瞬态响应敏捷,音色自然,对现代数码音源来说,能获得较为理想的音质。 该放大器输入级由双三极电子管6N11
图9—1是该前级放大器的电路图。
一、电路简介
该双声道前级放大器的输入级采用目前流行的SRPP电路,其线路简洁,解析力高,特别是高频响应极佳,动态与瞬态响应敏捷,音色自然,对现代数码音源来说,能获得较为理想的音质。
该放大器输入级由双三极电子管6N11担任,亦可采用12AX7、ECCS3等双三极电子管来代用。音频信号由V1管栅极输入,工作于共阴极状态。单管电压增益可达到20dB。经放大后的音频信号直接耦合至上边管,并由上边管阴极输出。
由于上边管的阴极直流电位较高,一般直流电压超过100V以上,如选用普通双三极管代用时,必须注意其阴极与灯丝间的耐压Efk应大于150V。
经前级放大后的音频信号,由电容耦合至、V3管的栅极,V3管为共屏极式阴极输出电路,本级电压无增益,电流有增益,故能增加输出的驱动能力。由于阴极输出电路具有深度的电流负反馈作用,因此,对改善整机的失真度、频率响应与信号噪声比等十分有利。同时,阴极输出器还具有输入阻抗高,输出阻抗低的特点,使前级的输出带负载能力增强,输出电流也有所增加,且能得到良好的匹配。
V3管为共屏极阴极输出器,应选用内阻低、电流大的中放大系数双三极电子管担任,以增强输出级的驱动能力,获得较平坦的输出特性。本输出级可选用6Nl、6N10、12AU7、ECC82等双三极电子管。
SRPP前级放大电路的失真系数比普通并列式阻容耦合放大电路低得多。一般二级共阴极阻容耦合放大器的失真系数约为2%~3%;而一般SRPP前级放大电路的失真系数可达0.4%以下。
普通并列式阻容祸合前级放大器的频率响应,一般从20Hz~20kHz范围内的增益变化达±3Db。而SRPP电路的频率响应从10Hz~40kHz增益变化仅为l±dB,具高频延伸范围较宽,故音质清丽,声场效果理想。
再来对比一下整机的信号噪声比。常规的并列式放大器级数越多,噪声干扰的机会也越多,如二级以上的并列式阻容耦合放大器自制时.其信号噪声比一般只能达到60dB左右;而SRPP电路由于放大级较少,其信号噪声比一般可达80dB左右。

二、电源供给
对前级小信号放大器来说,电源供给的品质是至关重要的。它对放大器性能的优劣有直接影响。对交流供电方式容易引人各种干扰,理想的整流滤波电源输出应尽量减小输出电压的波动,输出电压应极其稳定。
前级放大器属于小信号电压放大器,前级的灵敏度极高,对噪声干扰非常敏感。由电源引入的干扰,极易被放大,容易导致放大器信噪比降低。
此外,前级放大器消耗电源功率不大,但电源变压器必须要有足够的功率余量,以保证电源供电的稳定和对放大器的性能提高带来良好影响。
本双声道前级放大器的高压电源供给采用旁热式整流电子管624担任。因为电子管整流在工作一段时间后性能相当稳定,较少受外界温度变化的影响,同时,电子管三极管工作有一定的预热时间,在开机时无高压冲击现象,有利于延长各电子管的寿命。
经二极电子管624全波整流后的直流高压,经阻流线圈组成的π型CLC滤波平滑网络后,获得较为平坦稳定的直流高压。为了进一步提高电源的输出性能,一般采用稳压二极管组成的稳压电路,也可采用两只充气电子稳压管WY系列作串联稳压。
灯丝电源如采用交流电直接供电时,其中心抽头必须接地,以防止产生交流噪声。如采用直流方式供电,经整流二极管整流滤波后的直流供电性能更佳。当采用6Nll、6DJ8等双三极管时,其灯丝电压为6.3V,由该电子管4脚与5脚接入;当采用12AX7、12Au7、ECC82、ECC83双三极管时,4脚与5脚间供电电压为12.6V;当电源仍采用6.3v供电时,须将4脚与5脚合并,与中心抽头9脚之间接人6.3V电源。
三、元件选择
前级放大器的品质,除良好的电路设计保证外,采用优质元器件和精湛的装配工艺,也是十分重要的。很多自制放大器性能不佳,绝大多数是由于各种元器件品质不良,装配工艺粗糙或布局布线不合理所致。
本机所用电阻应全部采用金属膜色环电阻或大红袍金属膜电阻。电源部分的大功率电阻可采用被釉线绕电阻。名牌音响专用电阻有英国的HOLCO,美国的DALE、cGw等。耦合电容对靓声关系较大,应采用介质损耗小、无漏电的CBB聚丙烯电容。名牌音响用电容有德国的wIMA、法国的SOLEN等。音量电位器对整机的信噪比、平衡度与立体感均有影响。国产电位器应采用全密封型金属外壳的产品。进口电位器可采用日本的ALPS品牌,若采用步进式电位器则更好。SRPP输入级的V1管与V2管可选用国产的双三极电子管6N1l、6N4等。进口双三极电子管可选用12AX7、ECC83、6DJ8等,音色会更靓。V3管可选用国产管6N1,进口管则可采用l2AU7、ECC82等双三极电子管.电子管灯座必须采用陶瓷管座.其绝缘与耐热性能更好。输入与输出插座应选用与底板绝缘型的,接口最好选镀金的,进口插座可选用RCA的产品。电源变压器可选用参数相近的市售产品,功率富裕量宜大:阻流线圈可选电感量为5~10H,电流量为200~300mA的成品。整机装配的焊锡最好采用日本千佳锌锡细焊丝,含银量为3%,对提高音质有利。
整机的底座可采用1.5mm左右的镀锌铁板、不锈铁或不锈钢薄板制成。底座的长度尺寸最好与功放机、音源设备等取得一致,这样在机架上放置时显得匀称美观。在底座下面还应配上四只造型得当的底脚,底脚的接触面要稍大一些,以提高防振性能。
四、安装与焊接
图9—2为双声道前级放大器布线图

在制作好的底座上,先将各种接插件、开关、电位器、电子管座等零件全部安装牢固。其中V1、V2、与V3使用小型陶瓷九脚管座,V4为小型七脚管座。
用一根lmm左右的裸铜丝或镀银铜丝,先在底板中间布一根接地母线,为电路的合理接地做好准备。再用塑料多股线连接交流电源线与各电子管灯丝接线。由于交流走线中会在导线周围产生电磁场,容易引起交流电磁场的干扰,产生强烈交流声,所以必须将两根灯丝电源线绞合起来,这样可将交流电磁场相互抵消,以减少交流干扰。
输入信号端子的接线与音量电位器上的接线,由于输入灵敏度和输入阻抗较高,易产生感应噪声,故必须采用金属屏蔽隔离线。屏蔽线外层的接地点应选在输入电子管附近。电位器上的两根接地线必须左、右声道分开,以防止通过接地走线引起声道间的干扰。
图9—3为双声道前级放大器元件安装图。

本双声道前级放大器采用的电阻、电容等元件数量不多,故可采用传统的搭棚焊接方式。其优点是可以做到就近走线,可以通过绝缘接线架,方便地进行多点集合焊接。注意,本文提供的安装图仅供参考之用,具体制作应仔细核对电路图。
各放大级需要接地的电阻、电容等元件,应就近接在接地母线上。特别是各级阴极电阻与栅极电阻,应在同一点上接地。
为了防止屏极元件与栅极元件之间可能存在的干扰,栅极与阴极元器件最好接在下层,屏极元件接在上层,同时屏极与栅极元件不能紧贴或相互交叉,以杜绝干扰。
五、整机调校
全部元器件焊接完毕后,应仔细地与电路图核对一遍,是否存在漏焊、虚焊或接错之处,一切核查正确无误后,即可进行整机的调校。
先检查交流电源电路,检测之前先不要插各级电子管。然后插上交流电源插头,将电源开关合上,用万用表交流电压档,测量电源变压器输出的交流高压与各管灯丝的交流电压数值是否正常,一切无误后,断开电源将电子管插上。
重新开启电源开关,维持三分钟左右.并密切注视机内各元件的温升情况,不应出现温升过高、焦味、冒烟等不正常现象。一切正常后,即可测量各级工作电压。
先测量经整流后的直流高压输出,如交流高压取210V时,则第一级峰值直流高压应为210v×^2≈290v,再经过CLC滤波平滑网络后,即可获得240~260V的平稳直流高压。再经串联稳压电路后即可得到稳定的高压输出。
V1管与V2管的中间阴极对地电压应为电源电压的一半,即为100~120V之间。V3管如采用国产6Nl双三极电子管时,其阴极电流应为6~8mA;如采用进口管12AU7时,则阴极电流为10~12mA。V3管的工作状态,可通过调校栅极负压电阻与阴极电阻的阻值。
静态工作点初调结束后,即可在输出端子上接上耳机,并将音量电位器旋至一半的位置,此时用手握小旋凿触及输入端子正极或输入电子管的栅极,即可在耳机中听到感应交流声。
若触及电子管栅极听不到任何声响时,则表示通道中还存在问题,逐一检查通路中的焊接是否有误或输入、输出端子是否有接触不良现象。当一切不正常状态被排除后,再用手持旋凿触及电子管栅极或输入端子时,即可在耳机中听到感应信号声。
然后即可在输入端将CD等音源接入;在输出端子接上耳机,监听是否有音乐信号输出。如手边有现成的功放也可驳接,由音箱收听。注意监听时,要将音量电位器旋至合适位置。
刚开始试听时,可能噪声还比较大,声音还不够理想,经过一个小时的“煲机”以后,声音即会逐渐柔顺起来。
如果“煲机”多时以后,交流噪声仍然很大,则可能是电源部分滤波性能不良,或前级输入级接地不当所引起,应仔细逐级检查。
如放音正常,但音质不够理想时,可能是各级工作点尚未校准。还可通过改变各级阴极电阻的阻值,来改变阴极的负反馈量,这样可根据各聆听者的偏爱来调校
(责任编辑:admin) |
织梦二维码生成器
------分隔线----------------------------