|
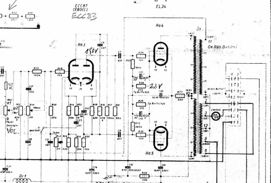
講到鼎鼎大名的專業音響大名牌––美國Western Electric能撐得起大半個世紀的盛名和高高在上的神聖不可侵犯地位,時今日幾乎每逢Western Electric所生產與音響有關的器材或配件,均能吸引追求者求之若渴;因二手市場交易流通量稀疏,物以罕為貴有關,價錢上漲的幅度,足令人乍舌。能有資格與西電並駕齊驅的大名牌,祇有Siemens/Klangflim,Klangflim與Western Electric相近之處同是主力生產專業廣播器材而揚名,而且它倆同是於戰前已有規模的手執牛耳大廠;祗是各屬 "美"、"德"不同的地域。 其實德國的造“膽”和造“牛”技術是絕不遜色於美國,而且有過之而無不及,可惜是在大戰期間摧毀了很大部份的德國機;還有是戰後德國的經濟復甦比美國慢,所以在這年間德國音響器材數量就不及美國之多。雖然身處克苦期間,德國音響廠家仍著意重振旗豉,包括:Klangfilm、RFT/ Neumann、Telefuken---等,全力發展錄音室技術,有關的膽咪、混音器、開卷錄音座,當時貴到飛起(現今都是很貴)。事實上,無人不知50~60年代德國的錄音水平是冠絕全球;少不了一提的是,錄製古典樂的大機構DGG “大禾花”,其錄音技術可見一斑。 時至今日Neumann和AKG所生產的錄音用電容咪或膽咪,已成為世界各地的錄音室幾乎是唯一的選擇。 而Klangfilm就專注生產專業電影音響系統,可算是各展所長。又因這二十年間德國較偏重出產高價的專業器材,所以在民用音響方面並不普及,因此德國音響機件形成炒賣的氣氛或步伐也比美國或英國為遲;直至近來這兩年才開始吸引發燒友對德國古董器材關注,漸引發炒賣者有規模的向德國發掘老古董機。Klangfilm是首選的對象,包括:勵磁喇叭、前級、後級、接線…..等。其二手市場售價直線的急升。若意欲尋寶晉身炒賣行列,而來不及上「西電」的車;那麼「西門子」就應落足眼神,加以注意啊! 上期Charlie兄從玩機實錄中將老馬蘭士9和Klangfilm KLV-502埋身肉搏大比試,戰況與結果?你應再細閱!總之是Klangfilm的實力不容忽視。 筆者所探討的KL-5719 圖(1)和KLV-502同是每聲道用一對EL-34。 『EL-34乃眾多輸出真空管之中個性最中庸者』,此話是我和Charlie兄對EL-34的共同看法。通常Klangfilm的機種多數是產於德國,而KL-5719卻是出生於奧地利 圖(2),就因為少產量,所以更令人感覺更矜貴,外型是偏薄形掛牆式的機身圖(3),最大輸出有效值RMS是35Watt。 圖(1) 圖(2) 圖(3) 線路分析: 線路圖來自陳主編給我的Email圖(4),功率管是推挽EL-34,ECC83是雙三極管,半支ECC83是輸入放大,另半支是作分相的用途。基本上一支ECC83和兩支EL-34已是完整的後級部份,為何前面又有多一支E80L和一支12AY7呢?因這KL-5719是一台單聲道合併機,這兩支E80L和12AY7是前部份,可作晶體式唱頭放大(以前是未有RIAA電路的)、咪高峰、或收音機輸入,Volume音量控制和音調控制在E80L和ECC83之間,還有5AR4/GZ-34膽整流,和兩級式的choke扼流圈。 圖(4) http://www.sharediy.net/uploadnew/article/2007042311562262.jpg 圖(5) 圖(6) 抽離前級部份: 這KL-5719來機時已被抽離前級和volume與tone control部份,但又未能徹底的。在ECC83柵極輸入處串聯著兩隻電阻100k和10k,是分流電壓給一組C.R.電容和電阻作高頻衰減,即是tone control的bass控制,看放大線路圖(5)。我們有更好的做法是將輸入的隔離線直接銲上100k與10k之間的輸入端,還要將20k和C27 500p抽離;因此就可避免串聯著的100k電阻引致的損耗,和音調控制的相位失真的影響,看圖(6) “左”是來機時的狀態,“右”是建議改良的狀態,可作比較。 負回輸部份: 若果讀者有意仿製的話,這線路圖是相當典型的傳統線路,而且成功率可達100%(當然視乎經驗);但要注意的是“輸出牛”接線端 “4”是接地 “11”是負回輸的接線,看圖(5)應引線至120k的負回輸電阻的一端,而另一端則是接往兩支串聯的分流電阻2.2k上。線路圖雖有點模糊,但看到這120k電阻一端是接地的,而從輸出牛的 “11”端引線作負回輸的也是接了地,當然是錯的。請看經修正的線路圖(7)。 輸出變壓器: 筆者早前提過,高質素的輸出牛是有獨立負回輸線圈的,如果讀者仿製,而又找得獨立負輸繞組的輸出牛,則用8ohm或16ohm作回輸也可行。這輸出牛還有一優點是線圈架是 “王”字架圖(8),繞線技術和結構是最理想的將兩組推挽初級線圈作最平均的分配,理論上是絕對平衡的,除非是銅線的線徑誤差;但亦可以達到0.1至0.5%的直流誤差。在筆者手上的KL-5719經測試的輸出牛P1和P2是看不出任何誤差。若跟英國Quad II 或Leak的勁誇張直流誤差來相比;這來自奧地利的Siemens Klangfilm真可叫Quad或Leak慚愧。 俗稱 “王”字架的火牛,是在火牛中央加了一間隔,可將初級線圈P1和P2獨立平均分配在這間隔的各一方,而次級線圈(輸出組)亦是平均分佈的繞在這兩間隔之間。完全解決了一般輸出牛將次級線圈夾在P1和P2之間,因繞線內圈和外圈的線徑距離而出現長度差距問題,亦即是直流電阻的誤差(銅線導體是有一定的電阻值),在推挽擴音機上看這直流誤差,亦等同偏壓bias電流誤差,假若擴音機未有偏壓可調的話,其實誤差總是存在!祗不過,不知者當作無誤差! 圖(7) 圖(8) 圖(9) 圖(10) 圖(11) 如何接線: 專業擴音機通常是為了使用安裝方便,慣常使用插座式的接線位圖(9),筆者在未收到線路圖時,祇有自行摸索的尋找線路端和計算輸出牛的輸出阻抗,看機頂有個燈膽圖(10);其實是串聯?輸出牛與喇叭之間作限流電阻和顯示輸出?弱的作用。看圖(5)這燈膽原本串聯在牛的輸出端7.2 ohm處,即輸出插座編號3,但這機已被改為燈膽串聯於164 ohm處,即插座編號“4”。而這插座編號“3”和編號“4”已互掉換,是應注意的;這也是好的改良,若在常用的輸出處7.2ohm串聯著鎢絲燈膽是對聲音有一定的損失;燈膽串聯在高阻抗處通常不影響我們的使用,假若除下這燈膽,高阻抗輸出就失效了,這都算是靈活。 雖然在接線座上有兩組的喇叭接線端,其實在輸出是有很多組輸出 “抽頭”可供選擇,祇在乎火牛線的銲接點問題,又因未有廠家提供的資料數據,是筆者假設初級線圈是6 k,然後自行計算輸出繞組的各種不同阻抗如下:1.8 ohm、7.2 ohm、16 ohm、36 ohm、55 ohm、164 ohm (這不同人的假設計算可能有5至10%的差異),都是無傷大雅的,可作參考。 接線座編號8是輸入電源,可有110V、125V、150V、185V、220V的選擇。要是乎電源牛的銲接點圖(11),編號5和6同是6.3V,燈絲的輸出電源。 輸入訊號接線: 另一邊的輸入訊號的接線位,包括:唱頭放,咪高峰或收收音機輸入,又因上手人已將前級部份抽離,所以前級部份可以不理;而這後級的直接輸入是在左邊的輸入接線座編號8,看圖(12),如果有原配的輸入插就可從這輸入插座處銲上RCA插座。 圖(12) 圖(13) 圖(14) 圖(15) 圖(16) 測試: 一切接線準備妥當,先進行示波器測試,頻率響應很闊,可由10Hz至100kHz平直響應,圖(13) “A”在1kHz、“B”是20kHz的正弦波 。 “C”是1kHz、“D”是10kHz的方波,所看見方波有少許凌震是好現象,空氣感比較好!功率在35W滿度輸出時亦能保持波形的穩定度,可見這機的設計與製作非凡。 試聽器材配搭如下: 前級:志平CV181牛前級+分體電源 CD:Micromega Stage3 接線:Artist訊號線 2對,Artist喇叭線12呎 1對 喇叭:志平12”全音域連原裝腳架 雖然筆者手上祇有單一台的單道機,亦絕不可能錯過試聽的機會,若然是好機,即使是聽單聲道也一樣樂趣無窮。 隨機而來的膽是60年代Siemens ECC83、啡底雙肥圈的德律風根EL-34一對,圖(14)雖然這兩支 “德記”EL-34單在肉眼看屏極金屬的結構,已知製造年期差異,但不竟都是60年代啡底的德國老膽,當然有一定水準。真正老年期的 “德記”EL-34相當罕見,讀者可認清肥身的除氣環和屏極結構,可減低買錯膺品幾會圖(15)。還有一支Valvo GZ-34,雖是印有Valvo的商標,但其廠code號碼是Mullard的圖(16),當時的Valvo GZ-34和EL-34佔了不少數目是OEM by Mullard製造的GZ-34用在這KL-5719身上是合適的。 (责任编辑:admin) |



























