裝之不厭的Marantz 马兰士 7 电子管胆前級
时间:2012-08-29 11:19来源:未知 作者:admin 点击:
次
前言 现时社会兴炒东西,小孩子的一张[龙珠]。卡片,也炒到四元一张(成本也不需一元),胆机的再次兴起,蓄装胆也跟潮流供求炒起来,看看德律风根的12系列.金狮KT88.铭机之首马阑士双宝,7舆9一对情侣也升价百倍,这样的价值是否值得,见仁见智,一双古玩
前言
现时社会兴炒东西,小孩子的一张[龙珠]。卡片,也炒到四元一张(成本也不 需一元),胆机的再次兴起,蓄装胆也跟潮流供求炒起来,看看德律风根的12 系列.金狮KT88. 铭机之首马阑士双宝,7舆9一对情侣也升价百倍,这样的价值是否值得,见仁见智,一双古玩花瓶也过佰万,而铭机是可供视(观赏,怀旧)听之娱 ,值得一提者,站在听音月舆科学的立场来说,若铭器内的零件,电容、电阻·胆舆电线(氧化)到一定程度时间,是应该更换,特别是电容这东西,就算全新不用,也因它的内部物质,受到空气湿度的影响,渐渐衰老,所以电容衰老是各零件之冠(功率管也是),若不要换声音大打折扣,铭器只是一件废铁(谈不上古董)实属可惜。
7舆9情侣组合,价钱高昂稀少,我等难求,唯有仿做之,子子宝的线路在坊间仿制品(包括套件)
流行多年,特别是7,因仿制容易,君不见很多有能力. 财力发烧友组合里,尽是名厂当今产品,而把首前关的却是一部土炮7仔,有些写手会评7加9是30多年的产品,线路设计是很落伍了,但若真的懂线路的人来 看,9的线路设计舆手工是比现在很多胆成品还先进、超前(原景图的后级也是)。

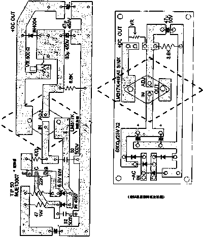
主机舆分体电源部份

主机部分

电源部分
舊線路簡單分析
從現在的角度來看7的線路是比較典型普通一點,沒有9的前衛,特別是電源 供應部份是落伍(在美國原作者有upgrade 7的電源部服務),它的頭兩級放大部份比 較普通,但懂得起用12AX7,不用T7與 U7,X7是三者中音色最好的,高 放大系數(高U),低噪音,弱音放大能力高,但输出弱,需加多一级放大,成本比较重了一点,两极之间是没有本身的回输,只有一整体回输,回输中间串入一N F.CR届阶梯式音调控制,增减控制用选择掣舆电阻代替电位器(不准确),在当时来说是不惜功本的新型电路,最后一级是俗称阴级随偶器(cathode-follower),即理现在的缓冲器(buffer stage)。它的作用是阻隔后级输入阻抗到





NF—CR作用,也是一更好的阻抗匹配器(低的輸出阻杭,不受輸出線的電容量與長度所影響),這構思到現在也很有用。本文電路改動的地方,是把音調控制、】ow—filter、output Ieve等一切刪除,回輸量保持不變,組成一新的 Me amp,增加一電源穩壓線路,這是針對它的弱點,符合現代化。
製作情形
本機是採用線路板形式,若自問信心足夠,又能解決機殼與陷的階震問題、零件排列問題,可採用搭棚式的,十足條件的搭棚式成品,高頻OM應和空氣感必定優於十足條件的線路板式的,原因線路板式受到銅捨與銅箔、與零件之間潛怖電容量影響叫旦線路板式儿較穩陣容易處理。線路板浸蝕完成後,可清清的焊上一層銀錫,零件焊上後,用線路筆(油性箱頭筆)把上了錫的銅箔塗上一層仰止氧化及感染雜音),只需塗在銅箔上,銅洛與銅洎之間纖維面上不需要。主線8各板與輸入、輸出的地線處理是非常重要的,它對分隔度與雜音感染影響很大。可參考地線處理圖,左右輸入組地線分開,各自接住VOI 控點地線點,再由VOI 處接入主線路版的地端,輸出雨地線也由主線路版處取出,各訊號線地端只需一邊接地,另一邊空置不用,可用熱伸縮膠管處理,最後才從主線路板公共地端,用一線接到機殼,經這樣處理,取得非常更好效果。電源部份製作可參考92年(79期),這是一非常負好穩壓電路,只需注意各零件接腳次序,

LM317K與散熱器.線路板之間連接問題,完成後開機十多分鐘,待各零件穩定 ,测量高低壓的數值才可作準,整體可說製作容易,效果良好超值作品。
零件選擇
當然選用靓料,電阻務必選1%或0.5%差誤值的,以减低因胆的規格偏差的 影响,電容牌子隨口味而選,但請注意各交連電容的容值不可加大,因筆者已把各電容值加大了(比較原來線路數值),低頻阻抗值已很低,理論與聽覺上低音絕對夠低夠量了,若強行再加大一些,只有增加時間常數,相移也增加,整體效果反而差了。12AX7筆者選用National的Gold line新裝的,噪音非常低,管內結構比其它管多了两塊金屬片,加強了支架能力,對咪高峰效應(microphonics)减低,讀者也可選用其它品只种代替。

試聽
簡說一下本人的组合,CD机是Teac VRDS-10(Stereo Sound選為30萬日元以下最抵買CD機頭位,而且它是價位內最平的),後级是胆後级(用KT88,可作三極輸出的),揚聲器是Tannoy System 10, 訊號線是日立與WBT,喇叭線是怪獸加銀線,比較對象是未換前的CD機先鋒05與12AU7前級,先說改良仔加10CD機的聲音,一開聲不用超過數分鐘,已可聽出比原有組合升高了不知多少級(先鋒05加1 2AU7听了半年,而且不用細心比较,7仔加10的聲音是豐滿有力,動態強弱分明,中低音較以前結實有大,超低較伸延確實,弱音細節較多而亮,人聲與樂器聽聲如見,伸手可摸,使到Teac 10的声底完全不像1 bit機的聲底(內部DAC跟馬蘭士11MKII一樣), 它有两頂特別處令我印象深刻,是它小音量重播時,高中低頻非常平均,沒有其它的机種,在小音量时高中頻較突出,另一特出處是用以前組合聽本地流行製作,感覺人聲口形寬大,樂器擠在一團,非常俗不耐聽,錄音水準只值五十分,現在聽來可加多15至20分的,對不起,錯怪了他們(本地製作錄音人員),若用女人來比喻7仔與10好像利智(明星)與黎姿(電視藝員代表先鋒05與12AU7),發燒友(男人)喜歡那一個,相信不用問了,是否沒缺點,當然有的,有時總覺得它的聲底火辣一點,聲音速度快了半拍似(但絕不過荷、生硬),弱音細節亮了一點(但不是粗糙,有些人還會喜歡),這可能是7仔與10的音色相衝問題,還有7的零件與10CD機對是新的,需要一定時間的run-in,若用線材-- 就或换其它胆一試,真不知聲音改換至甚麼樣(或把回輸電阻82 K接地的1m電阻改為470K一試),總括來說,普通的石機前級絕不是它的對手,只有靓的燈胆前级才能比較,怪不得它的原機、套件(仿製品)瘋魔本地,坊間十多二十年,歷久不衰,人生(發燒友能得一7與9情侶組合,真是一大快事,真 的叫一聲馬籣士7偉大的前級,啊,忘記了還有9偉大的後級。
原装机:

原版线路图:

(责任编辑:admin) |
织梦二维码生成器
------分隔线----------------------------