|
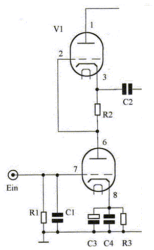
緣起 自2000年開始自製真空管擴大器也有數年了, 其中做了許多直交, 容交, 前級, 後級的 機子, 就是還沒有做過耳擴. 去年某一日在家閒坐無聊, 上網看到下面的電路, 由於接 線簡單而且是OTL, 管子又容易取得. 於是連忙搭棚試製了一部, 沒想到效果甚佳. 經 和李站長連絡後, 由我設計成PCB, 準備將成果 ![]() 線路簡介 本電路為自給偏壓的SRPP(Shunt Regulated Push-Pull). 可說是常見SRPP的 變種. ,SRPP是數十年前就已發展使用的電路。與串疊(Cascode)、差動 (Differential)等放大電路,早期均使用在儀器或精密的電子裝備。後來,很多名 廠將這些電路引用到聲頻放大器,因而漸漸地流傳開來。 “SRPP” 這名字是日本人取的. 它的原名是Balanced Direct and Alternating Current Amplifier (US patent 2,310,342, Feb. 9, 1943), 作者是Maurice Artzt在RCA工作時提出的. 我有這專利的照相本, 有興趣研習電路知識的讀者可向我 索取. 我自己是看的一個頭二個大. SRPP由於電路結構很簡單,怎麼裝都可以響得不錯,因此倍受業餘人士的喜愛,加 上其等效輸出內阻遠低於普通推挽電路, 所以二個普通的訊號管上下搭起來, 再加上一 個輸出電容來隔絕直流一個耳擴就完工了. 對於一般大眾也就夠用了 . 這電路其實也可以做成OCL. 那就是將電源改成正負供電, 選擇電阻位讓中點電位近 於零, 再加上一DC伺服控制電位. 不過這樣做不僅增加成本, 也少了用電容調音的趣 味. SRPP另一優點是失真小, 推挽電路本身具有抵銷偶次諧波失真的功能, 同時陰極 輸出電路的負回授也使頻寬更加擴大. ![]() 這原始電路的應用,主要是用在CRT上的偏向電路, 如上圖所示, R10 = R11所以E1 = E2. 調整R2使得R2 = R3 + R4. 由於T1和T2是串接所以電流一樣以致T2 陰極和E1 等 電位. 所以輸出 R5二頭在靜止時為等電位. 由於這是理論值實際上由於有誤差,R5 可 用一可變電阻來調整零電位. 如果輸入增加則T1和T2屏流也增加造成T2 陰極電位下降, 所以輸出為負相. 這個放大 器的頻應非常好, 用SPICE 可以驗證. 難怪可以用在電子儀器上. 本電路由於電流的一致性及二管二作於A類, 作者認為是由兩個共陰結構的推挽電路. 其中上管的反相輸入免費由下管取得. 作者並沒有提出推導公式但有提出更複雜的多 級應用及五極管也可以用. 另外一派的看法(TubeCAD的JRB), 以下圖為例, 認為V2是共陰放大, V1則是陰極隨 耦器但是做為V2的活性負載. 更甚者, R2應該可以由一個恆流源取代. 關於這一點, 我 用SPICE實驗後發現, 關鍵在輸出負載. 如果輸出負載小(30 – 360歐)則推挽說正確 但如果輸出負載大(M歐)則陰極隨耦器說較為貼切. ![]() 圖一 ![]() 圖一的電路, 其實可以重劃成上圖. 由於上下管都是併聯, 所以rP減半. R4作為V2 的 負載. R1, R2和C2構成一穩定的分壓電路, 使得V1 的輸出和輸入的分例大為降低, 工 作起來更像陰極隨耦器, 使得輸出阻抗更低. 本機的偏流太約在20 mA左右. 可調整 R2 的值來改變. 調整R2 對於低頻響應也有很大的影響. 我沒有變種SRPP輸出阻抗Zout的公式, 套用正常的SRPP為: ![]() 拿起電算機按一按,輸出阻抗大概在500 ohms, 增益為17倍, 頻寬在7Hz – 800KHz之間. 效果應該是不錯了. 製作 這篇製作是給只買PCB套件的人看的. 如買站長的整個套件, 相信站長也會有一篇裝機 報告的.(編按:當然是有的,我們下一篇裝機報告會詳細描述組裝的過程) 拿到套件先清點元件. 由於管子要外露, 除了管座所有元件等下要反著裝. 找到一合適 的鋁殼, 測量好位置後開始鑽孔. 筆者是用美國隨處可買到的LMB方胖形鋁盒. 鑽孔後 再用噴漆加以美化再開始組裝. 首先將組裝好的電路板鎖上. 再將耳機座, 電源開關, 燈絲變壓器及音量裝上, 上蓋就 大致OK了. 下面B+電源我是用110/220昇壓器整流再加上CLC來濾波. 把B+電源弄 好, 就可以開始下一步了. 先測燈絲電壓是否正常, 再測B+, 如果都OK的話再將地線及訊號線接好, 開始測試. 插上管子, 看著管子燈絲緩緩亮起, 先測量兩管的電壓及B+, 如沒有太離譜的話再量一 下輸生端的DC. 本機非常簡單的配線, 應該是人人可成功的, 放上一張熟悉的CD, 仔 細聽那純粹真空管發出的聲音, 真乃人生一大享受. 值得一提的是本機為AC點燈, 只用了二個電阻及一個電容, 就將哼聲處理的乾乾淨淨, 除音質更為鮮活外, 免除了DC點燈的耗電及成本, 完全符合SIB的原則. ![]() ![]() 第二次試製的照片, 二交連電容一用WIMA MKS4一用ROE ![]() 第三次試製的照片, 交連電容一用UCC一用ROE, UCC如併一個1000P/250V的雲母 則高頻更加亮. ![]() 測試 ![]() 本機可用管子非常多, V1可用12AU7, ECC82, 5814A, 5963, 6067(編按:我們是 附上NOS的12AU7). V2可用6922, 6DJ8, ECC88, CCA, 6CG7, 6N1P等(編按: 我們是附上NOS的6N1P), 我試過RCA Clear Top的12AU7 + 6CG7, JJ的12AU7 + 6DJ8, EH的12AU7 + 6922 都有不錯的表現. 後記 有人可能會認為500 ohm的輸出阻抗還是太高, 不能伺候低阻抗的耳機, 如有此顧慮, 可再加一個MLE340作射極隨耦輸出, 那輸出阻抗為: The overall output resistance is ![]() ![]() HD600 試聽中. (责任编辑:admin) |




































