双声道单端A类300B电子管胆机功放的制作
时间:2012-08-29 09:12来源:未知 作者:admin 点击:
次
现代音源设备绝大多数均为双声道系统。因此,目前音频率放大器多是双声道为主。对于电子管功放来说将左声道与右声道两个相同的功放组合在一起,即组成了合并式功率放大器。这与晶体管式前置放大器与功率放大器合而为一的合并式功放接法上是有区别的。所以,电
现代音源设备绝大多数均为双声道系统。因此,目前音频率放大器多是双声道为主。对于电子管功放来说将左声道与右声道两个相同的功放组合在一起,即组成了合并式功率放大器。这与晶体管式前置放大器与功率放大器合而为一的合并式功放接法上是有区别的。所以,电子管合并式功放也可称为双声道式立体声电子管功放。
有“胆中之王”之称的直热式三极功率电子管300B,是功率放大管中的珍品,用该管制成的各种功放品质高雅,音色纯真柔美。其中用300B制成的单端A类功放,更具有特别迷人的音色,丰满的谐音。现将两组电路完全相同的单端A类300B功放组合在一起,制成合并式单端A类.300B功率放大器,供音响爱好者制作时参考。
一、合并式单端A类300B立体声功放电路简介
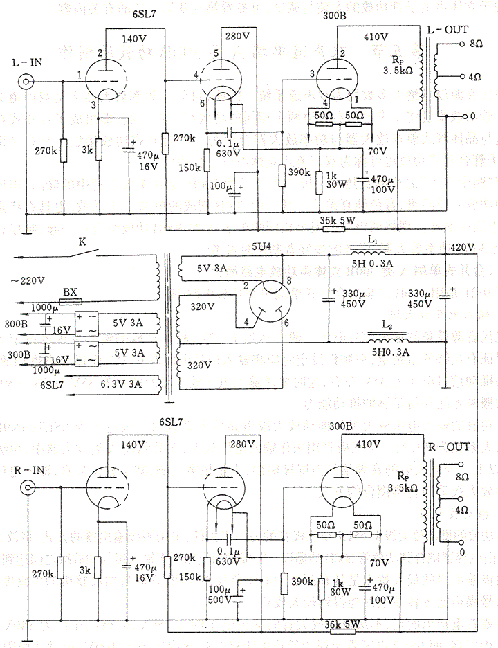
图1是用300B组装的合并式单端甲类功放电路图。

1. 输入电压放大级
现代音源没备的输出信号电压一般可达到1~2V,故本功放的输入灵敏度设定为1.4V。为了保证有足够的富裕量,在制作设定时应将输入信号电压取0.7V,而每个声道功放管300B栅极的推动信号电压为35V左右,这时要求输入电压放大级的增益为35V/0.7V≈50,这样功放管的栅极才能获得足够的推动能力。
本功放的输入电压放大级与推动放大级由高放大系数双三极电子管6SL7(6N9P)担任,该管放大系数为70,前一半三极管用来作输入电压放大,在共阴极A类放大器中,单级增益可达50以上。经放大后的音频信号由屏极输出,为了拓宽频响,减小相位失真,输入电压放大级与推动放大级采用直接耦合的方式。
2. 推动放大级
本功放的推动放大级由6SL7双三极管的另一半担任,采用阴极输出器的方式,将放大后的音频信号由电容器耦合到功放管300B的栅极。阴极输出电路利于输入级与功放级之问达到匹配。
阴极输出级的最大特点是具有深度的电流负反馈作用,它能将功放整机的失真度,频率响应与信号噪声比等各项电性能得到较大改善。
须要着重指出的是,本级推动放大管的屏极电压约为280V,阴极电压约为140v,阴极直流电位相当高,而6SL7电子管手册中给出的阴极与灯丝耐压小于100V,超过此极限电压,阴极与灯丝有被击穿的危险。为此,本电路将功放管阴极中取出70V直流电压,与6SL7电子管的灯丝一端相连,以提高该管的灯丝直流电位,这样该管的阴极与灯丝问的直流电位差为140V-70V=70V,即低于100V,以确保阴极与灯丝间的安全。
3. 功率放大级
300B直热式三极功率电子管,世界上生产的厂家很多,如:Western Electric 300B、Sovtek300B、Svetlana 300B、Tesla 300B、Valve 300B等。这些世界名牌产品价格不菲。幸好国内的曙光、桂光等电子管厂均有生产,这给国内发烧友带来方便。近年来曙光厂生产的新品镍屏悬丝300B,即吊勾式300B,音质尤为出色。
单端A类3000B合并式功放级,每个声道用一只功放管来完成。300B功放管屏极与阴极之间的工作电压约为340~350V,屏极电流约为60~70mA,300B功放级的实际功率耗损为350V×0.07A≈25w,但输出功率仅为8W。不过,该单端A类功放所营造出来的声音却不同凡响。
单端A类300B功放级的工作点必须工作于栅压一屏流特性的直线部分。功放管的栅极负压必须配置适当。根据手册中对300B功率电子管栅负压规定值为-60V~-70V,则该管担任A类放大时,前级推动电压变化必须限制在最高不超过±35V。
300B功放管采用自给栅负压方式,由该管阴极对地电阻中取得。单端A类功放在工作时,从零信号到满信号其平均屏极电流应保持在60~70mA之间,不应有较大的波动。在调校时可采用直流电流表串接在功放管300B的屏极回路内,当功放管栅极有音频信号输入时,屏极电流会超出70mA,这表示该管的栅极负压过低;反之,如屏极电流低于50mA时,则表明栅极负压值过高。可分别调整300B功放管阴极对地电阻与栅极对地电阻的阻值,使功放管的栅极负压值校准在屏流曲线直线部分的中点,使屏极平均电流保持在60~70mA之间稳定不变。
300B作A类单端功放时,其屏极负载阻抗与工作状态有关,当屏极的负载阻抗过高时,输出功率会有所下降;如果负载阻抗过低时,则功放工作状态可能进入特性曲线的弯曲部分,使失真加大。通常负载阻抗应该不小于屏极内阻的3~4倍。因300B为直热式低内阻功率电子管,其屏极内阻仅为800Ω,所以本单端A类功放输出变压器一次侧的负载阻抗取3.5kΩ。
4. 合并式功放电源供给
本功放的高压电源供给采用电子管整流方式,由整流二极电子管5U4进行全波整流,并经过双兀型滤波平滑网络,获得420V平稳的直流高压。为降低高压电源的内阻与增强滤波效果,采用阻流线圈进行滤波,两只阻流线圈的电感量均为5H,电流为0.3A。经整流滤波后第一级直流420V高压专门供给300B功放管屏极使用,再经36kΩ/5w电阻去耦降压后,第二级输出级280V次高压,供给输入级与推动级电子管的屏极使用。
5. 本机主要技术指标
输出功率:8W×2
输出阻抗:4Ω、8Ω
输入灵敏度:1.4V
失真系数:2%
频率响应:25Hz~20kHz一3dB,
电源功耗: 120W
二、300B单端A类输出变压器的参数
如市售品中难于购得合适的输出变压器时,亦可自己动手进行试制,先作简化计算。 单端A类300B功放音频输出变压器的效率仅为20%~30%,虽然该功放的输出功率只有8W,但由于输出变压器中始终有电流流过,具有直流磁化作用,功率耗损25W,因此该输出变压器在设定时的功耗必须适当加大,才能保证有良好的效果。
现设定300B单端A类输出变压器的功率P=30w;一次侧负载阻抗Rp=3500Ω;直流工作电流Io=0.07A;二次侧负载阻抗R1=4Ω,R2=8Ω;要求输出变压器在60Hz~16000Hz频率范围内的不均匀度小于-3dB。该输出变压器的效率η取0.75。
根据技术条件,可参阅第十章,先估算出输出变压器一次侧电感量和铁芯截面积。本电路输出变压器的一次侧线圈的电感量约为9亨;铁芯截面积取14cM2。
根据所取的铁芯截面积应选择CB-30型规格的EI硅钢片铁芯。为确保音频输出变压
器的品质,应采用优质的冷轧硅钢片或D42以上的热轧硅钢片。
各组线圈的绕制数据如下:
初级线圈用0.19mm左右漆包线绕2200匝;次级线圈用0.9mm漆包线绕146匝,在100匝处抽头。
由于单端A类音频输出变压器具有直流磁化作用,故输出变压器的铁芯应防止产生磁饱和现象。所以EI铁芯应采取同方向顺插,并在叠厚层之间留出适当的空隙。制作时可选择厚度为0.1mm左右的电缆纸垫于空隙处,然后再将铁芯压紧。同时为防止输出变压器的外磁场干扰,应在输出变压器外加上屏蔽罩壳。
音频输出变压器的绕制比普通电源变压器绕制要复杂一些。为了取得优良的电性能,在绕制工艺上必须注意以下几点:(1)一次侧线圈的电感量必须符合技术要求,这样才能满足低音频段频响特性的要求。(2)要求线包的漏感和分布电容应尽可能小些,这样才能满足高音频段频响特性的要求。为此,一次侧线包最好采取分层分段的交叉叠绕方式绕制,并将二次侧线包夹绕于其中,这样的频响效果为最佳。
线包的层间绝缘应采用优质的绝缘电缆纸。由于线包的引出头较多,必须分清头尾,不能接错。输出变压器全部安装完毕后,应放置在干燥环境中用合适温度的热源焙烘一小时,然后乘热放入绝缘清漆中浸至无泡溢出,取出沥干,再烘干后备用。
三、合并式300B功放的结构
图2 是合并式单端A类300B功放元件排列图。

在合并式单端A类功放底座上的最后端放置电源变压器。为了防止干扰采用了金属屏蔽罩。与电源变压器靠近的是5U4整流电子管与二只滤波电解电容器。底座的中间安置左声道与右声道输出变压器,并同样采用了金属屏蔽罩,以防止外磁场干扰。与输出变压器靠近的是左、右声道功率放大管300B,最前端为左声道与右声道输入级与推动级放大电子管6SL7(6N9P)。在四只电子管的两侧装有镀铬金属弯条,其目的是能起到装饰与保护电子管的作用。
本功放的左、右声道输人端子安排在底座的前下方,以保持与输入电子管距离最近。左、右声道的输出接线端子分别设置在底座后端的上面,以方便与扬声器音箱的驳接。两只阻流线圈L1与L2分别安装在底座内部的中央。为防止噪声的干扰,本功放不设置左、右声道音量控制电位器。脱卸式电源进线座、保险丝座等均设置在底座背板下方。
本功放的底座采用镀锌薄铁板、烘漆薄铁板、不锈铁或不锈钢板均可,厚度1.5~2mm。底座参考尺寸为:宽220mm、深400mm、高70mm、加上底座盖板后,再装上四只底脚。
图3 给出内部接线图,仅作参考之用:安装时应根据电路图仔细焊装。

1. 安装零部件
在合并式300B功放底座上,先将各种接插件、输入与输出接线端子、电子管管座、接线支架等小零件逐_一装上,、陶瓷电子管管座在安装时必须注意图示方位,以保持接线距离最近。其中电源变压器,左、右声道输出变压器由于体积大而笨重,故应该在全部元件焊接完毕以后再装。因为在安装过程中底座要四面翻动,容易损伤外表,且给元件的焊接带来不便。
2. 布灯丝接线
合并式300B功放的灯丝供给分为三组,左声道与右声道功放管各接一组,前级左、右道6SL7(6N9P)合用一组。为防止感应交流噪声,灯丝接线应全部采用绞合方式。为减少功放级的交流声干扰,功放电子管先经桥堆整流滤波后再供给,并在灯丝两端各接50Ω/3w电阻一只,经电阻中心抽头再通过阴极自偏压电阻后接地。
3. 屏蔽隔离线
由于输入电子管6SL7栅极的输入灵敏度很高,极易产生交流杂波信号的干扰,所以必须采用金属屏蔽隔离线。屏蔽线外层金属编织线的接地端,应安排在输人管阴极接地处。
4. 装高压电源部分
电子管功放的高压电源部分比晶体管功放电源线路简单,调试容易,无需稳压及大电容滤波等。这主要因为电子管功放为高电压小电流型,电源波动不大。但电子管功放对于抑制交流声措施比较复杂,在布线上应考虑周到,如高压走线、电源变压器位置、外界电磁场的辐射等。
(责任编辑:admin) |
织梦二维码生成器
------分隔线----------------------------