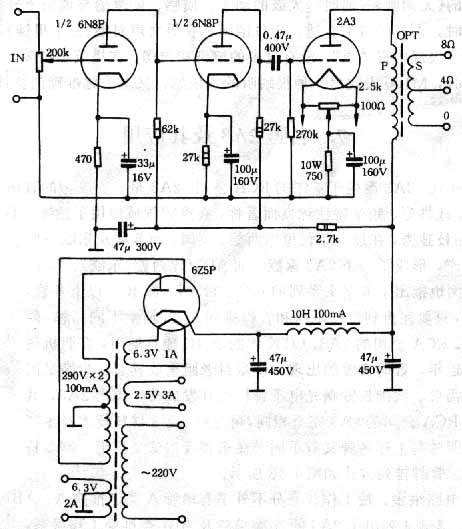
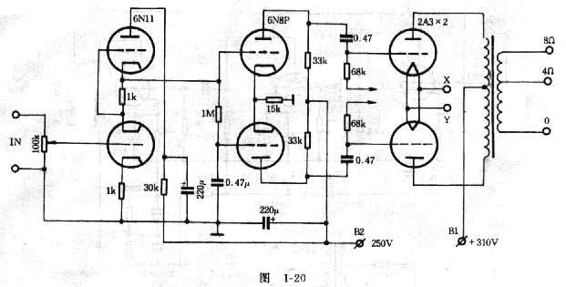
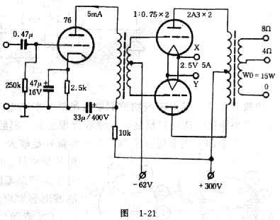
![]() 本世纪三十年代,2A3诞生于美国的RCA公司。2A3是一支典型的直热式功放三极电子管,它以内阻低、线性好、频率特性优良而著称,在声频领域使用了达半个世纪之久。2A3并非RCA公司的一枝独秀,在过去年代里原西德、英国、前苏联及东欧一些国家均曾大量生产,形成了一个2A3家族。如AD1(原西德、东欧)、2C4C(苏式),其它各国也推出了6字头系列的6A3、6B4G、6C4C。以上各管,性能相同或相近,只要注意到灯丝电压和管脚排列方式,换上不同品牌,便可领略不同风味。RCA公司的2A3、OTK牌的2C4C独具魅力,在胆机迷中,多有珍藏。近年,数码音源的出现,使尘封老胆重放异彩。为满足国内外发烧市场的需要,我国长沙曙光电于管厂也开发成功了国产2A3,其外形及电参数与RCA公司的2A3完全相同,可互换。由于材料技术及生产工艺的差别,其胆味与上述各牌又有不同,在东邻日本倍受称道。2A3特性如表1-3所示。 2A3的应用电路很多,按工作状态分不外乎有单管A类。推挽A、AB1、AB2类,尤以ABI类最为常见。表1-4列出了2A3的A类单管及AB1类推挽工作状态,由此派生出了很多 应用电路。本文选出了具有代表性的几种应用电路作一介绍。 负反馈对音质害多益少,现在已成共识。但不加负反馈就能稳定工作的放大器件可谓凤毛麟角。而2A3的开环特性就很理想,在无负反馈时,工作稳定,这无疑对减少TIM、IIM、PIM失真大有神益。如图1-19所示为近年来在日本胆迷中流行的单管A类放大线路,图标元件已换用国产相同器件。该线路简单、元件少、制作很容易,其出声迷人,浓郁的胆味令人倾倒。 而图1-20、图1-21为推挽放大,有10~15W的输出功率。图1-20电路在胆迷中制作较多,出声不凡,不知是否得益靓胆6N11,有待验证。最具有发烧味的可能要算图1-21所示线路了,由于使用了推动变压器,元件数目少得出奇,阻容元件仅5个。该线路倒相信号严格对称,激励电压可过荷,而不改变偏压,影响工作点,具有相当高的保真度,听感上也更胜一筹。但倒相用的推动变压器,制作难度较大,市售品售价不低,这是其缺点。 (责任编辑:admin) |






























