最好的电子音响科技diy制作网站

haoDIY_音响电子电脑科技DIY小制作发明

当前位置: 主页 > 音响DIY > 功放DIY > 后级DIY >

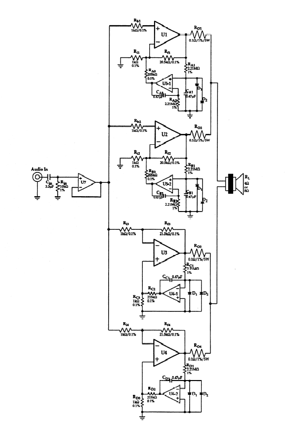
最大功率达到280W的4片并联 LM3886功放图

时间:2012-08-24 17:49来源:未知 作者:admin 点击:
最大功率达到280W的LM3886功放图
最大功率达到280W的LM3886功放图

最大功率达到280W的4片并联 LM3886功放图
最大功率达到280W的4片并联 LM3886功放图
 
(责任编辑:admin)
织梦二维码生成器
顶一下
(2)
100%
踩一下
(0)
0%
------分隔线----------------------------
发表评论
请自觉遵守互联网相关的政策法规,严禁发布色情、暴力、反动的言论。
评价:
表情:
用户名: 验证码:点击我更换图片
栏目列表
推荐内容